Pont à fil
Pont à fil
N° d’inventaire : 159
Fonction : mesurer la valeur d’une résistance.
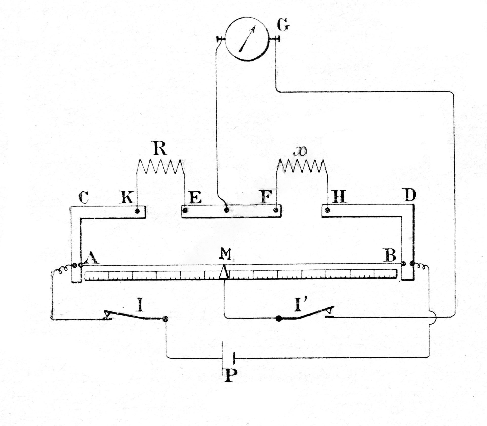
Description : Il s’agit d’un fil tendu entre deux barres de laiton. Un curseur (M) peut glisser le long de ce fil et établir un contact en chacun de ses points. Il se déplace devant une règle graduée en unités de longueur ou en rapport de longueurs, ce qui permet de mesurer les longueurs MA et MB ou bien donne pour chaque position du curseur la valeur du rapport MA/MB.
Certains modèles comportent des lames métalliques (CK), (EF) et (HD) pourvues de borniers. Sur d’autres modèles, seuls les borniers nécessaires aux branchements sont visibles.
L’ensemble est fixé sur une planchette en bois ou en plastique pour les modèles les plus récents.
Mode opératoire : On construit le montage électrique correspondant au schéma. Ce schéma comprend le pont à fil, une pile (P), un galvanomètre (G), une résistance de comparaison de valeur (R), la résistance de valeur (x) inconnue, deux interrupteurs (I) et (I’).
Les interrupteurs (I) et (I’) étant fermés, on déplace le curseur (M) jusqu’à ce qu’aucune déviation du galvanomètre ne soit détectée. Suivant la graduation de la règle, on lit soit les longueurs (AM) et (BM) puis on calcule leur rapport. Le rapport des résistances des portions (BM) et (AM) étant égal au rapport des longueurs BM/AM, on calcule alors la valeur (x) inconnue en appliquant la formule : x = R × (BM/AM)
(Texte et schéma ASEISTE)

